军工产业供应链大数据创新服务平台

咨询建议

首页> 新闻资讯>正文

工业机器人及机器人视觉系统

来源:中工云网   2018-01-09 00:00   浏览:8141

机器视觉系统就是利用机器代替人眼来作各种测量和判断。

它是计算科的一个重要分支,它综合了光学、机械、电子、计算机软硬件等方面的技术,涉及到计算机、图像处理、模式识别、人工智能、信号处理、光机电一体化等多个领域。图像处理和模式识别等技术的快速发展,也大大地推动了机器视觉的发展。

机器视觉系统的应用

在生产线上,人来做此类测量和判断会因疲劳、个人之间的差异等产生误差和错误,但是机器却会不知疲倦地、稳定地进行下去。一般来说,机器视觉系统包括了照明系统、镜头、摄像系统和图像处理系统。对于每一个应用,我们都需要考虑系统的运行速度和图像的处理速度、使用彩色还是黑白摄像机、检测目标的尺寸还是检测目标有无缺陷、视场需要多大、分辨率需要多高、对比度需要多大等。从功能上来看,典型的机器视觉系统可以分为:图像采集部分、图像处理部分和运动控制部分

机器视觉系统工作过程

 •  一个完整的机器视觉系统的主要工作过程如下:

• 1、工件定位检测器探测到物体已经运动至接近摄像系统的视野中心,向图像采集部分发送触发脉冲。

• 2、图像采集部分按照事先设定的程序和延时,分别向摄像机和照明系统发出启动脉冲。

• 3、摄像机停止目前的扫描,重新开始新的一帧扫描,或者摄像机在启动脉冲来到之前处于等待状态,启动脉冲到来后启动一帧扫描。

• 4、摄像机开始新的一帧扫描之前打开曝光机构,曝光时间可以事先设定。

• 5、另一个启动脉冲打开灯光照明,灯光的开启时间应该与摄像机的曝光时间匹配。

• 6、摄像机曝光后,正式开始一帧图像的扫描和输出。

• 7、图像采集部分接收模拟视频信号通过A/D将其数字化,或者是直接接收摄像机数字化后的数字视频数据。

• 8、图像采集部分将数字图像存放在处理器或计算机的内存中。

• 9、处理器对图像进行处理、分析、识别,获得测量结果或逻辑控制值。

• 10、处理结果控制流水线的动作、进行定位、纠正运动的误差等。 

机器视觉系统的优点有:

• 1、非接触测量,对于观测者与被观测者都不会产生任何损伤,从而提高系统的可靠性。

• 2、具有较宽的光谱响应范围,例如使用人眼看不见的红外测量,扩展了人眼的视觉范围。

• 3、长时间稳定工作,人类难以长时间对同一对象进行观察,而机器视觉则可以长时间地作测量、分析和识别任务。

• 4、机器视觉系统的应用领域越来越广泛。在工业、农业、国防、交通、医疗、金融甚至体育、娱乐等等行业都获得了广泛的应用,可以说已经深入到我们的生活、生产和工作的方方面面。

科幻电影中的智能机器人

如下图所示是一种有电脑操控的加工机械装置:

  • 该装置主要通过前端的摄像头对被加工对象进行图像采集和加工定位,从而完成加工。

  • 机械类的各部件的精度由工人的熟练程度和工作经验以及加工工具(如各类机床)到如今的由数字化和智能化的加工设备(如数控机床),更多的能适应社会需要和发展的高精度,高难度的零件被加工出来。

视觉系统简单来说就可以用三个及独立又相互联系的模块来概括:目标物图像的采集、图像的处理、指令的发出。

视觉系统的设计分为软件设计和硬件设计两大部分。

 视觉系统的硬件设计

视觉系统的硬件主要由镜头、摄像机、图像采集卡、输入输出单元、控制装置构成。

一套视觉系统的好坏则分别取决于摄像机像素的高低,硬件质量的优劣,更重要的是各个部件间的相互配合和合理使用。

在恶劣的自然环境中,在生产的一线,在许多复杂的情况下,要想保证整个视觉系统的正常工作,构成系统的各个硬件就必须具有很好的耐磨损性和经受住各种不可预料的情况和考验。

随着科技的进步和现代生产生活的需要视觉系统正在机器,特别是智能机械的飞速发展,原有的系统硬件已不适应新的需要,为此,必须提高硬件的水平和质量来保证系统的正常运行。  

镜头、摄像机、图像采集卡、输入输出单元、控制装置构就好像电脑的显示器、电源、主机(处理器、内存条、硬盘、显卡等)一样,每一个构成部件都很关键,它们质量如果不过关,整个机器就无法正常工作,更别说完成复杂的工作和给以的任务了。

视觉系统的软件设计

视觉系统的软件设计至关重要,在当今信息化大趋势下,智能控制越来越依靠软件方面的功用。

视觉系统的软件设计是一个复杂的课题,不仅要考虑到程序设计的最优化,还要考虑到算法的有效性,及其能否实现,在软件设计的过程中要考虑到可能出现的问题。

视觉系统的软件设计完成还要对其鲁棒性进行检测和提高,以适应复杂的外部环境(鲁棒性就是系统的健壮性。它是在异常和危险情况下系统生存的关键。)

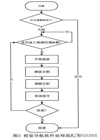
一种视觉导航软件处理的流程图

视觉系统的实际应用

  • 机器视觉技术的城市交通预警系统   

  • 近几年来,随着经济的发展,我国各大城市内部的交通基础设施建设也得到了快速发展,但是,尽管城市道路越建越宽,立交桥越建越多,交通信号越来越复杂,道路的拥挤程度和交通事故的发生率却没有得到明显的缓解,交通运输业特别是城市交通承受着越来越大的压力。

目前,随着城市交通现代化、智能化的进程日益加快,国内相关领域的研究也成为新的热点。关于智能交通系统(Intelligent Transportation System;简称为ITS)的研究得到了欧洲、美国、日本、加拿大等等很多发达国家的广泛重视,他们纷纷投入巨资应用于智能交通系统的研究,并进行了大量的模拟实验,很多子系统已经能够初步达到人们所希望的智能化程度。越来越多的事实已经证明,先进的ITS将有效地利用现有交通设施,减少交通负荷和环境污染、保证交通安全、提高运输效率、促进社会经济发展、提高人民生活质量,并能够推动社会信息化及新产业的形成。基于机器视觉技术的城市交通预警系统,是先进交通管理系统的子系统,是通过根据交通状况的变化及早预警,配合交通管理的智能监控系统。

基于机器视觉技术的城市交通预警系统结构框架 

  • 系统主要功能模块简介:

  • 视觉监测:城市交通环境是实时变化的,通过视频监测技术采集相关数据,将检测到的环境特征值送往信息融合处理器。

  • 信息融合处理器:将信息通过模糊神经网络方法得到输出结果。

  • 监测预警:根据并做出决策,即相应调整实时交通信息、信号控制,以及对于将要发生事故或已经发生事故区域采取紧急救援措施。 

机器人视觉

  • 机器人视觉【robot vision】 使机器人具有视觉感知功能的系统。

  • 机器人视觉可以通过视觉传感器获取环境的二维图像,并通过视觉处理器进行分析和解释,进而转换为符号,让机器人能够辨识物体,并确定其位置。

  • 机器人视觉广义上称为机器视觉,其基本原理与计算机视觉类似。

  • 计算机视觉研究视觉感知的通用理论,研究视觉过程的分层信息表示和视觉处理各功能模块的计算方法。而机器视觉侧重于研究以应用为背景的专用视觉系统,只提供对执行某一特定任务相关的景物描述。

免责声明:凡注明为其它来源的信息均转自其它平台,由网友自主投稿和发布、编辑整理上传,对此类作品本站仅提供交流平台,不为其版权负责。本网站对有关资料所引致的错误、不确或遗漏,概不负任何法律责任。如果您发现网站上有侵犯您的知识产权的作品,请与我们取得联系,我们会及时修改或删除。联系邮箱:service@cimim.cn

热门推荐